灵活拓展,连接无界

灵活拓展,连接无界
多领域专家,智能助力新篇章
leyu·乐鱼(中国)体育官方网站TL-37主板可以是您嵌入式系统项目的核心组件,数据中心与小型服务器的得力助手,数字显示与图形处理工作站的关键部分,以及定制计算解决方案的灵活基础。凭借其强大的处理能力、稳定的电源输入和灵活的扩展选项,TL-37主板能够满足各种复杂leyu·乐鱼(中国)体育官方网站的需求,为您提供卓越的计算和图形处理体验。

功能强大
图解核心优势
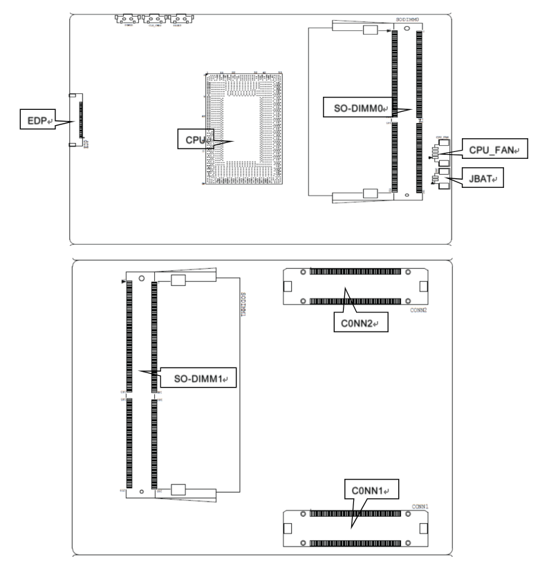
CPU: Intel Tiger Lake-U Celeron and Core processor
Memory: Dual channel DDR4 up to 64GB
GPU: Integrated graphics, 1x eDP interface
Other: 1x CONN1 and 1x CONN2 connectors
Dimension: 125 mm x 105.16 mm
Power: 12V power input by CONN1, CONN2
Working Temp: -20°C~60°C
更多参数请点击页面右上角下载中心下载查看
高性能处理器:TL-37主板搭载Intel Tiger Lake-U Celeron和Core处理器,确保您的应用具备强大的计算能力和响应速度。
大容量内存支持:支持双通道DDR4内存,最大容量可达64GB,满足大型数据处理和存储需求。
集成图形处理:主板集成图形处理器,并通过eDP接口连接显示器,提供流畅、高质量的图形显示。
灵活扩展选项:通过CONN1和CONN2连接器,您可以轻松扩展TL-37主板的功能,实现高度定制化的计算解决方案。
宽温工作范围:TL-37主板可在-20°C至60°C的宽温范围内稳定工作,适应各种恶劣环境。
稳定电源输入:通过12V电源输入,确保主板的稳定运行和长寿命。